Mapa
Oblíbené
0
Neuberg
Najperk
Komentáře
Ubytování
Galerie obrázků
zřícenina hradu Neuberk
© Vlastislav Mareček, 06/2016
zřícenina hradu Neuberk
© Vlastislav Mareček, 06/2016
zřícenina hradu Neuberk
© Vlastislav Mareček, 06/2016
zřícenina hradu Neuberk
© Vlastislav Mareček, 06/2016
zřícenina hradu Neuberk
© Vlastislav Mareček, 06/2016
zřícenina hradu Neuberk
© Vlastislav Mareček, 06/2016
Neuberg
© Miroslav Siegert, 10/2011
Neuberg
rc letecký snímek
© Miroslav Siegert, 03/2011
Neuberk
rc letecký snímek
© Miroslav Siegert, 03/2011
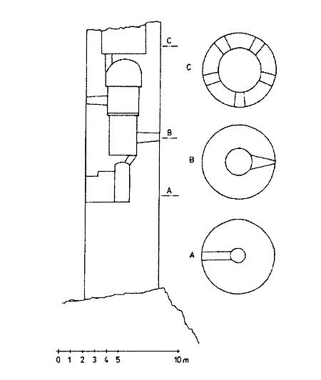
Půdorys jádra hradu bez rozlišení stáří jednotlivých zdiv podle P. Šebesty
Obrys archeologických sond tečkován
© T. Durdík - Ilustrovaná encyklopedie českých hradů - Libri, Praha 2000
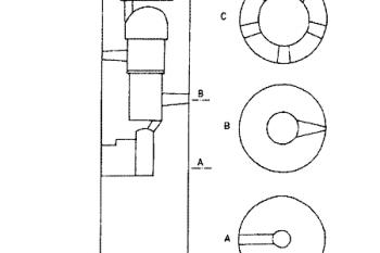
Průřez věží
Podhradí, průřez věží a jednotlivými patry podle K. Albertiho (kresba J. Úlovec)
Úlovec J., Hrady, zámky a tvrze na Chebsku, Chebské muzeum, 1998, str. 177, obr. 135
Sklepy
© VŠ 08/2005
Věž
© VŠ 08/2005
© Luděk Pitter 03/2005
© Luděk Pitter 03/2005
© Luděk Pitter 03/2005
© Luděk Pitter 03/2005
pohled ze silnice
© Pavel Zany Komárek 29/9/2000
© Vlky, Jirka Čížek
Přihlášení
Email
Password
Přihlásit
×
Tento web používá cookies pro správnou funkci, analytiku a marketing.
Více informací
Přijmout vše
Odmítnout
Nastavení
Nastavení cookies
Nutné cookies
Analytické cookies
Marketingové cookies
Uložit
Nastavení cookies
×
Nutné cookies
Analytické cookies
Marketingové cookies