Mapa
Oblíbené
0
Smrčná
Komentáře
Ubytování
Galerie obrázků
Pohled od jihovýchodu
© Jiří Cukr, 05/2014
Pošumavská krajina u Smrčné (tvrz uprostřed)
© Jiří Cukr, 05/2014
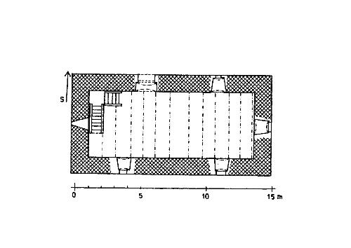
půdorys přízemí tvrze
© J. Úlovec podle V. Švábka (in Ohrožené hrady, zámky a tvrze Čech, díl 2. N-Ž, Libri, Praha 2005)
pohled od severovýchodu
© Pavel Zany Komárek 30/9/2001
Přihlášení
Email
Password
Přihlásit
×
Tento web používá cookies pro správnou funkci, analytiku a marketing.
Více informací
Přijmout vše
Odmítnout
Nastavení
Nastavení cookies
Nutné cookies
Analytické cookies
Marketingové cookies
Uložit
Nastavení cookies
×
Nutné cookies
Analytické cookies
Marketingové cookies